| Schéma du circuit |

|
NON |
Faisceau de toit ouvrant CONNECTEUR (Côté du véhicule) |
Faisceau de toit ouvrant CONNECTEUR (MOTEUR) |
Moteur de la vitre panoramique (Maître) |
Moteur du cache-soleil (Asservi) |
|
|
|
|
|
|
|
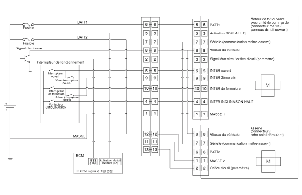
1 |
Masse N° 1 |
Masse N° 1 |
Masse 2 |
|
|
2 |
Signal état vitre/outil |
Signal état vitre/outil |
- |
|
|
3 |
Activation de BCM |
Activation de BCM |
- |
|
|
4 |
Commutateur inclinaison vers le haut |
Commutateur inclinaison vers le haut |
- |
|
|
5 |
Interrupteur d'ouverture du cache-soleil et de la vitre |
Interrupteur d'ouverture du cache-soleil et de la vitre |
- |
|
|
6 |
Batterie 1 |
Batterie 1 |
Batterie 2 |
|
|
7 |
- |
Communication LIN |
Communication LIN |
|
|
8 |
SIGNAL DE VITESSE DU VÉHICULE |
SIGNAL DE VITESSE DU VÉHICULE |
SIGNAL DE VITESSE DU VÉHICULE |
|
|
9 |
Interrupteur de fermeture auto du cache-soleil /ouverture auto de vitre
|
Ouverture automatique de la vitre / Commutateur de fermeture automatique du store |
- |
|
|
10 |
Interrupteur fermeture du cache-soleil et de vitre |
Interrupteur fermeture du cache-soleil et de vitre |
- |
|
|
11 |
Masse 2 |
|
|
|
|
12 |
Batterie 2 |
|||
|
13 |
- |
|||
|
14 |
- |
|||
Composants et emplacement des composantsAccouplement de l'actionneur électro-hydraulique direct: Composants et emplacement
des composants
emplacement des composants
1. Ensemble de transfert
2. Arbre de transmission
3. Ensemble de l'accouplement
composant
1. Ensemble de l'accouplement
2. Arbre d entrée
3. Capteur de pression ...
ESC hors circuit
ESC OFF
Pour annuler l'ESC :
• 1er état
Appuyez brièvement sur le bouton ESC OFF (le témoin ESC OFF s'allume).
Dans cet état, la fonction de contrôle du moteur est désactivée. Autrement dit,
le contrôle de la traction. ne réagit pas; seule la fonction de contrôle du freinage
es ...