| Composants (1) |
| [Ensemble de dossier de siège arrière] |
| (Gauche) |

|
1. Housse du dossier de siège arrière 2. Chauffage de dossier de siège arrière 3. Rembourrage de dossier de siège arrière 4. Pare-poussières du dossier de siège arrière 5. Cadre du dossier de siège arrière |
6. Recouvrement externe de protection du dossier de siège arrière 7. Revêtement du point d'ancrage du dossier de siège arrière 8. Guide d'appuie-tête de siège arrière 9. Appui-tête du siège arrière 10. Housse interne du dossier de siège arrière |
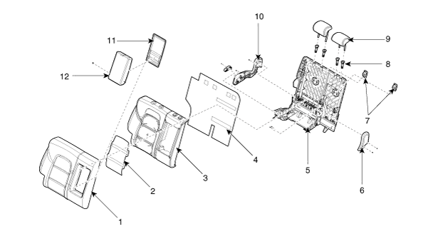
| COMPOSANTS (2) |
| [Ensemble de dossier de siège arrière] |
| (Droit) |

|
1. Housse du dossier de siège arrière 2. Chauffage de dossier de siège arrière 3. Rembourrage de dossier de siège arrière 4. Pare-poussières du dossier de siège arrière 5. Cadre du dossier de siège arrière 6. Housse interne du dossier de siège arrière |
7. Revêtement du point d'ancrage du dossier de siège arrière 8. Guide d'appuie-tête de siège arrière 9. Appui-tête du siège arrière 10. Recouvrement externe de protection du dossier de siège arrière 11. Accoudoir de siège arrière 12. Panneau de l'accoudoir du siège arrière |
| COMPOSANTS (3) |
| [Ensemble de coussin de siège arrière] |

|
1. Ensemble du cadre et du rembourrage du coussin de siège arrière 2. Chauffage de l'assise de siège arrière |
3. Recouvrement du siège arrière 4. Câblage d'extension de chauffage de siège arrière |
Siège arrière
Ensemble du siège arrière: Composants et emplacement des composantsComposants et emplacement des composants
COMPOSANTS
1. Module HECU
2. Capteur de vitesse de roue avant
3. Interrupteur ESP OFF
4. Capteur de vitesse de roue arrière (2RM)
5. Capteur de vitesse de roue arrière (4RM)
...
Informations générales
Symboles de service de base
Cinq symboles de base sont utilisés en complément des illustrations. Ces symboles
indiquent les pièces sur lesquelles appliquer les matières lors du service.
Symbole
Signification
Ne r ...